建筑施工企业的建筑资质和企业业绩在哪里查
1、打开可以查建筑资质和企业业绩的数字化建工企业服务平台;

2、点击查询服务,选择查企业,进入企业查询页面;

3、在企业名称模块输入需要查询的企业名称,点击确定;

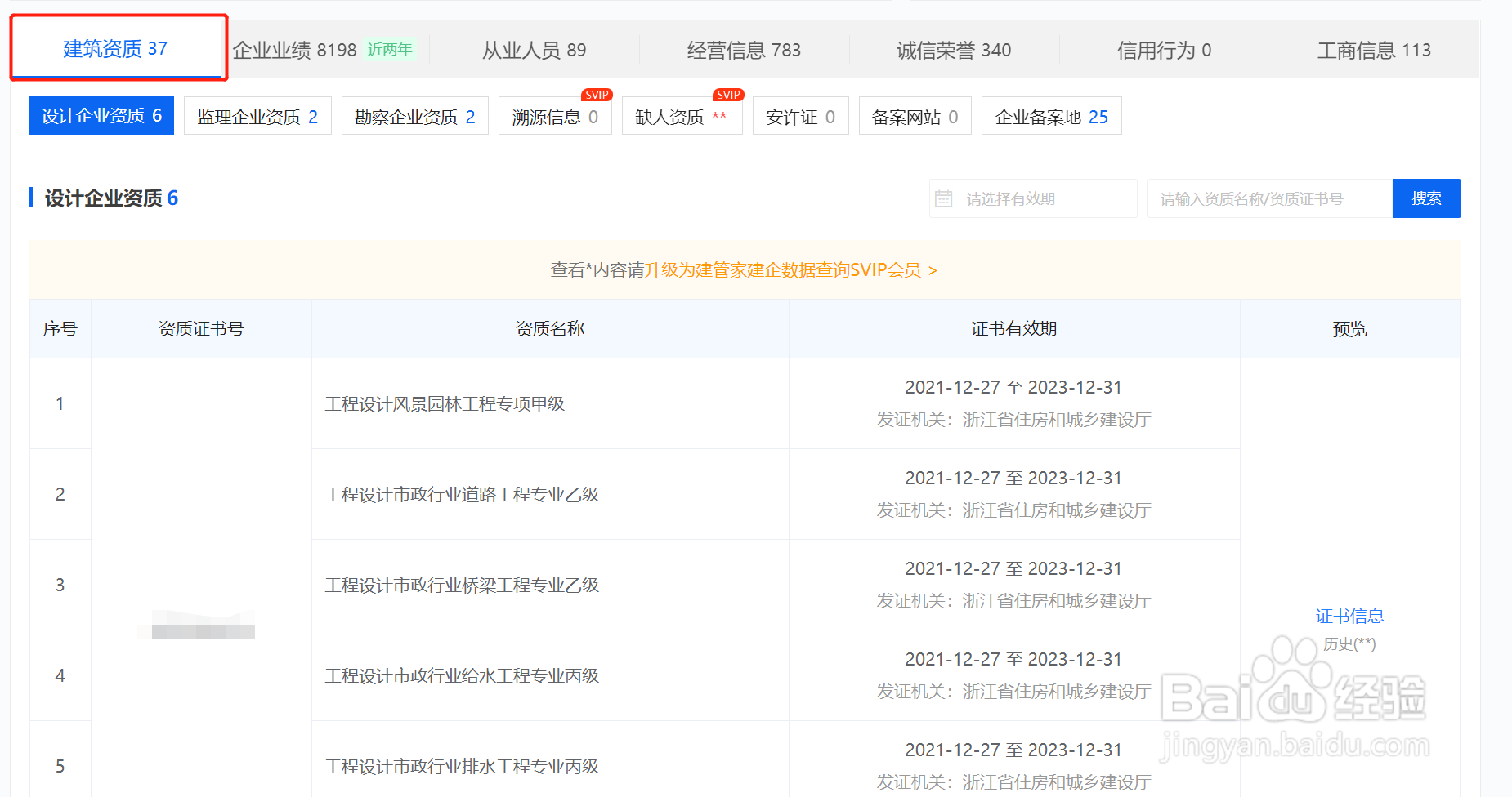
4、进入企业信息页面,就可以查询到建筑资质和企业业绩以及从业人员和经营信息等。


1、打开可以查建筑资质和企业业绩的数字化建工企业服务平台;

2、点击查询服务,选择查企业,进入企业查询页面;

3、在企业名称模块输入需要查询的企业名称,点击确定;

4、进入企业信息页面,就可以查询到建筑资质和企业业绩以及从业人员和经营信息等。

